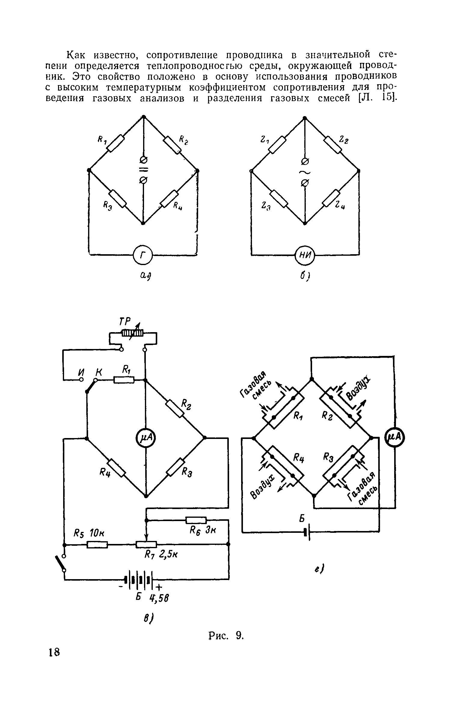
"Радиолюбители — народномухозяйству. Массовая радиобиблиотека, выпуск 727 " - читать интересную книгу автора (Смирнов Александр Дмитриевич ) |
|
© 2025 Библиотека RealLib.org
(support [a t] reallib.org) |