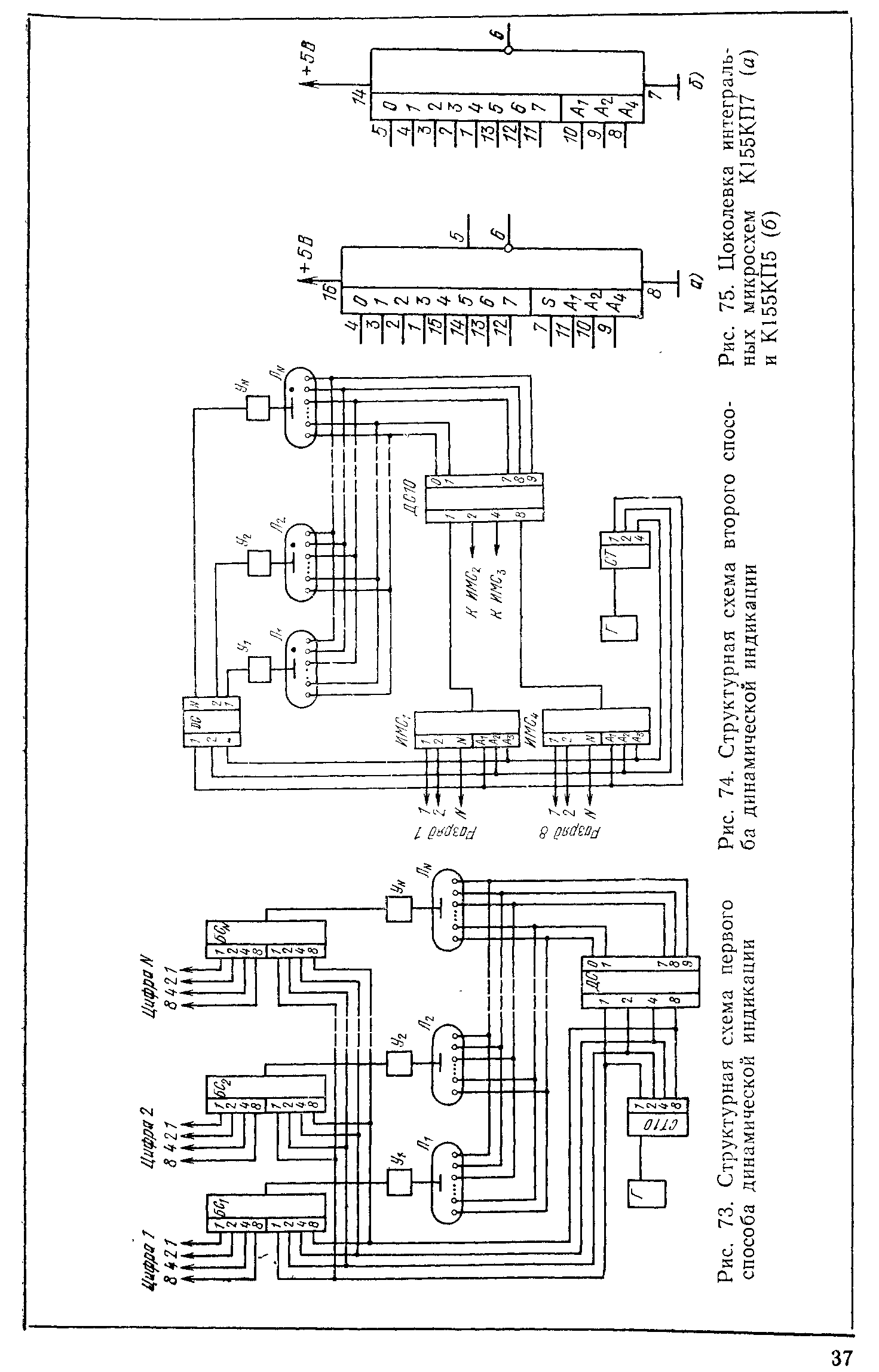
"Радиолюбительские цифровые устройства" - читать интересную книгу автора (Бирюков С.А)