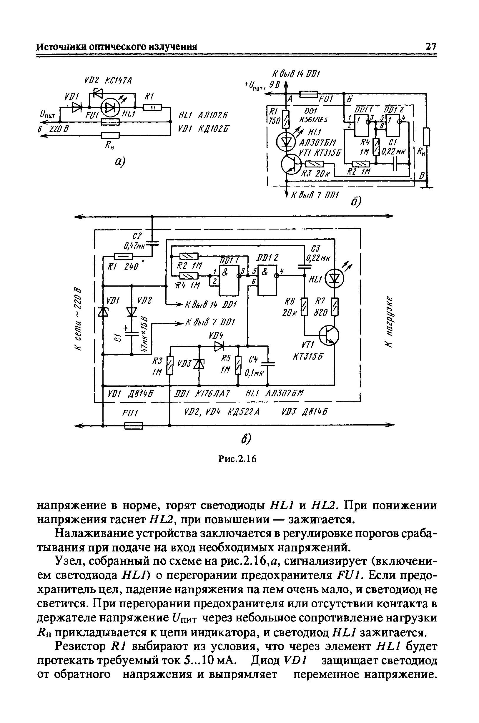
"Оптоэлектронные устройства в радиолюбительской практике: справочное пособие" - читать интересную книгу автора (Быстров Ю.А., Гапунов А.П., Персианов Г.М)