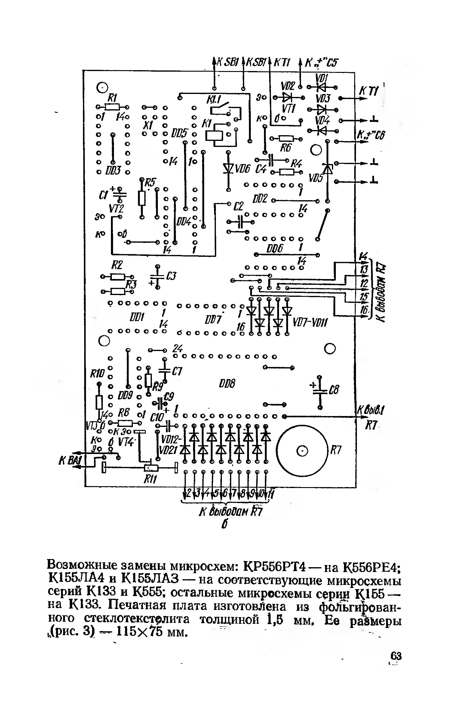
"" - читать интересную книгу автора (Составитель А.В.Дьяков. )