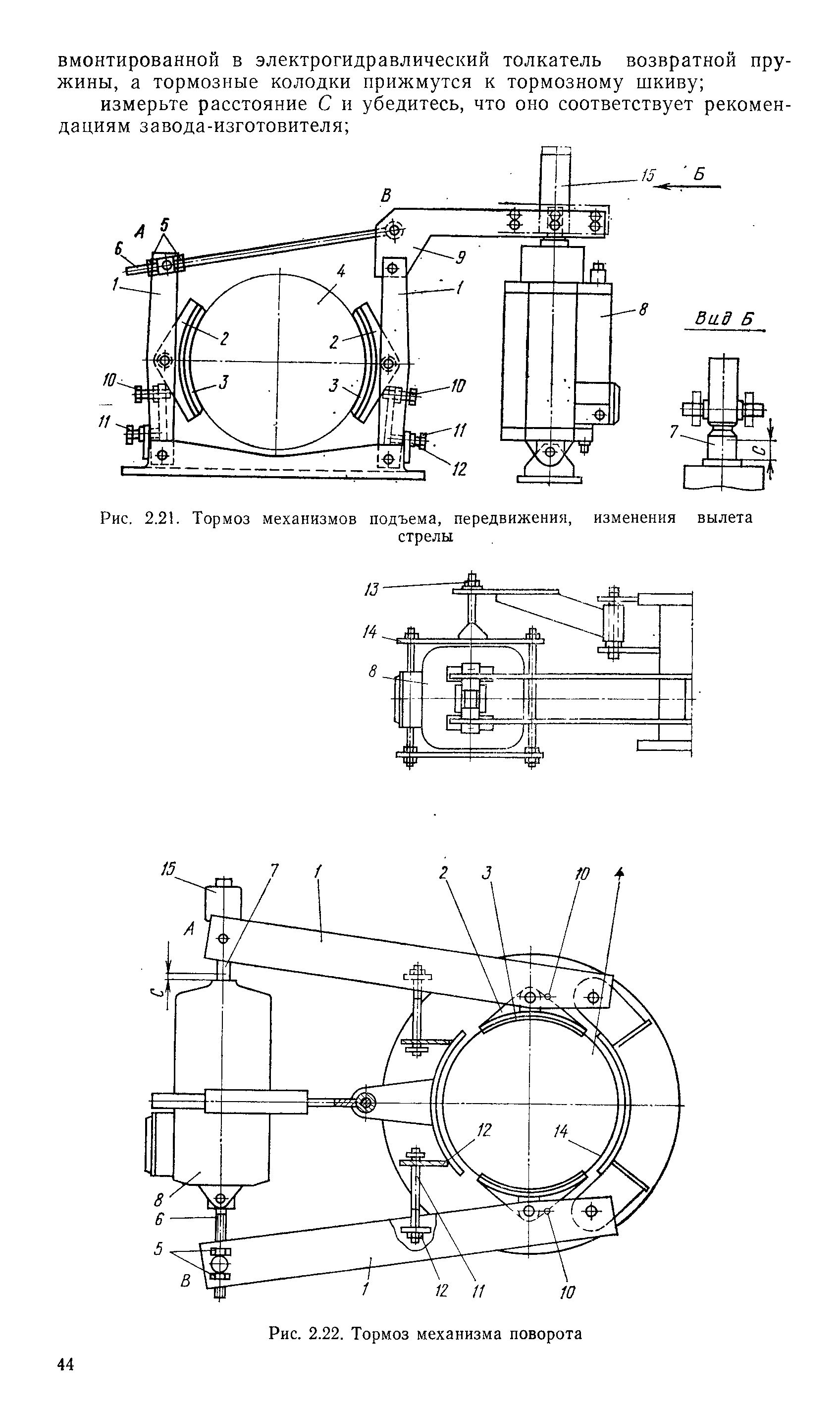
"Инструкция по эксплуатации портальных кранов «Кондор» постройки 1974-1984 гг" - читать интересную книгу автора (Ленморниипроект)