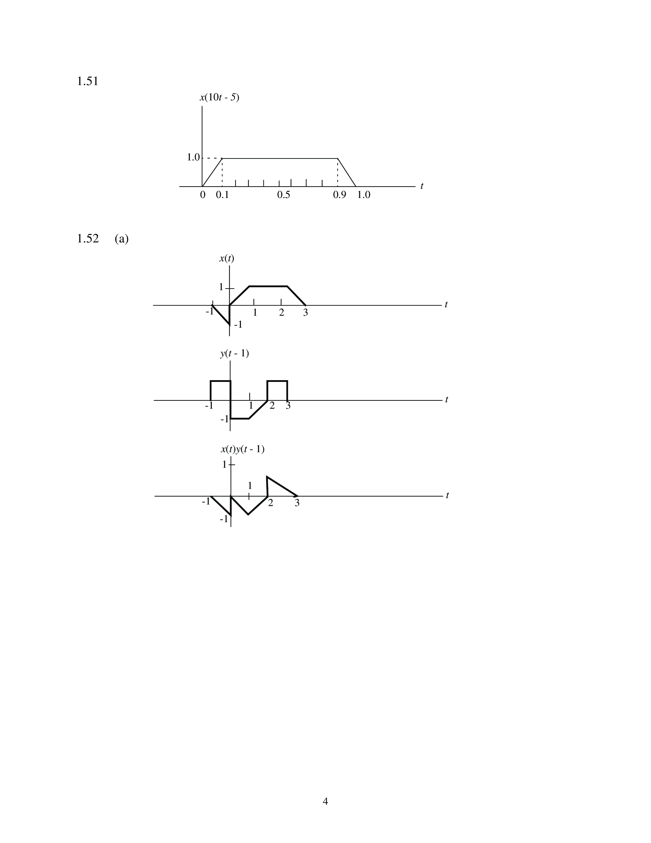
"Signals and Systems, 2nd Edition " - читать интересную книгу автора (Simon Haykin, Barry Van Veen)