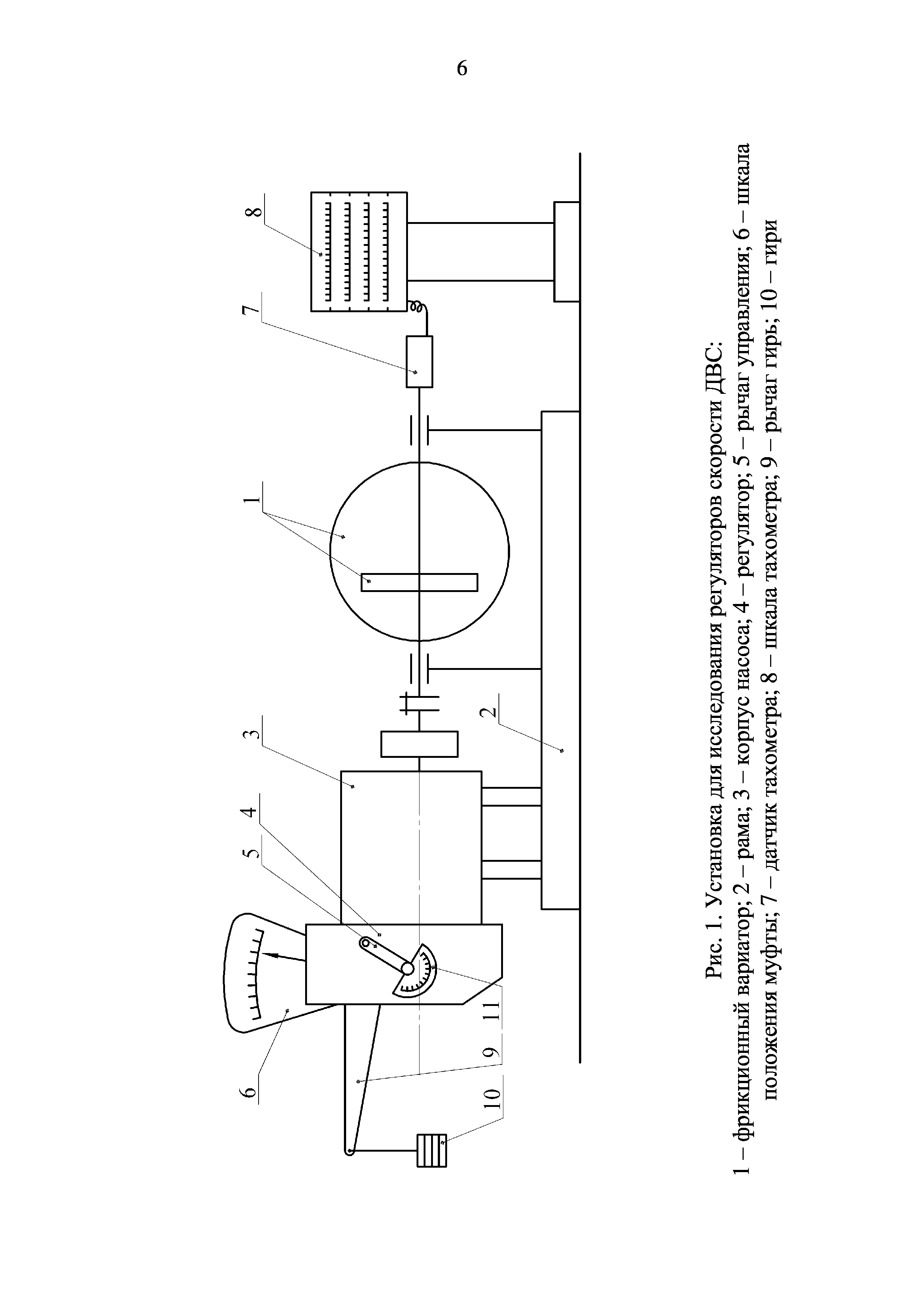
"Автоматическое регулирование частоты вращения ДВС: Методические указания к.." - читать интересную книгу автора (Е.И. Блаженнов, Ю.Е. Хрящев, С.З. Скобелкин) |
|
© 2025 Библиотека RealLib.org
(support [a t] reallib.org) |