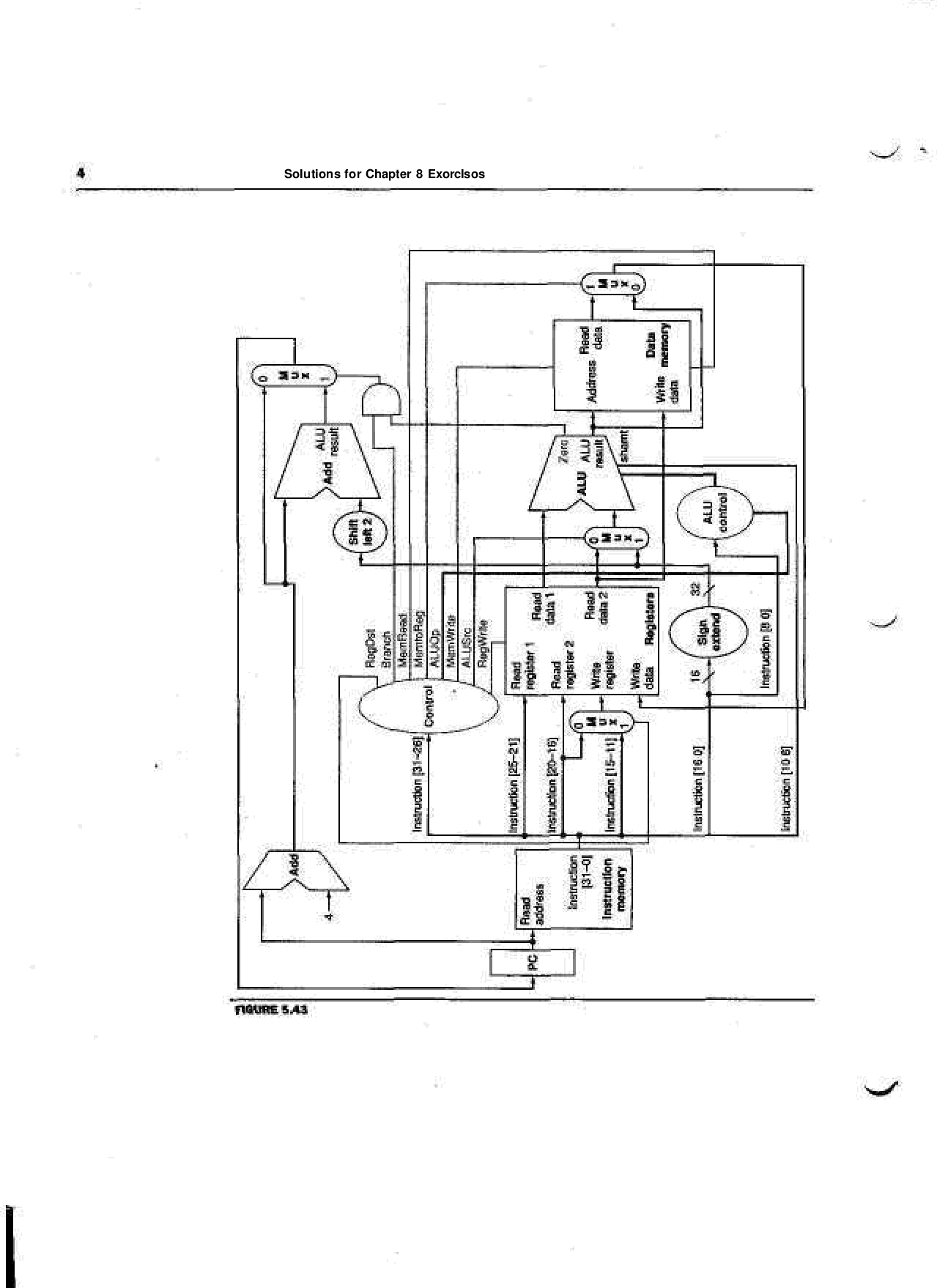
"Computer Organization And Design - The Hardware Software Interface. Solutions" - читать интересную книгу автора (Hennessy, Patterson)